В этом материале мы подробно рассмотрим элементы, составляющие основу устойчивой работы системы, обеспечивающей надежность транспортного средства. Мы сосредоточим внимание на ключевых компонентах, которые играют важную роль в функционировании механизмов и систем, базирующихся на передовых технологиях.
Правильное понимание взаимосвязей и принципов работы этих элементов позволит не только избежать распространенных ошибок, но и значительно упростить процесс диагностики. Мы постараемся сделать так, чтобы наши читатели смогли уверенно ориентироваться в различных ситуациях, связанных с техническими аспектами эксплуатации.
Каждый элемент, будь то узел или система, требует тщательного подхода и глубоких знаний. Изучив данную информацию, вы сможете выполнить необходимые процессы самостоятельно и без лишних затрат. Мы стремимся предоставить полезные и актуальные сведения, которые будут служить вам надежным помощником в любой ситуации.
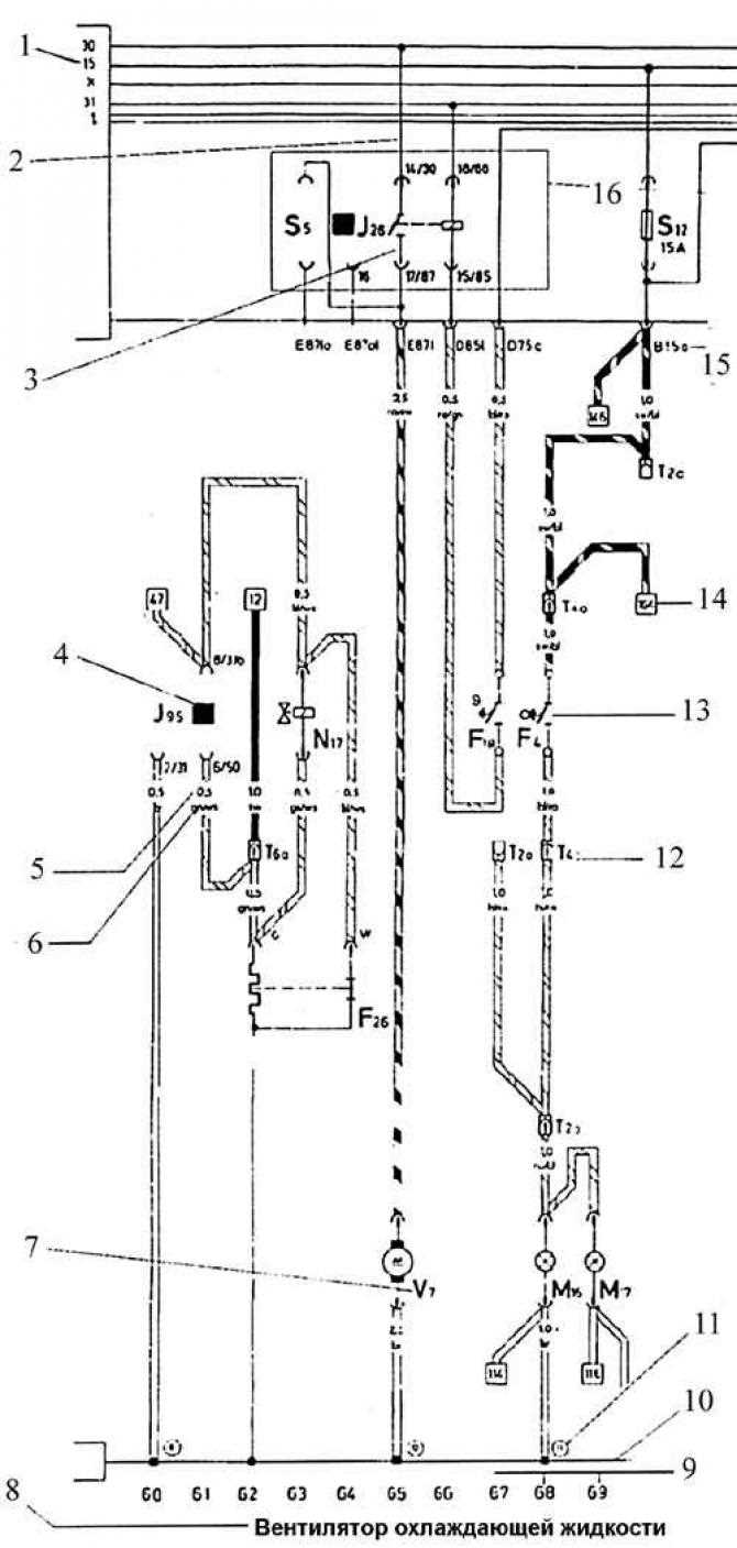
Обзор электрической схемы Фольксваген Т4
Комплексная карта электрической системы этого автомобиля включает в себя множество составляющих, начиная от основных аккумуляторов и генераторов, заканчивая фарами и датчиками. Знание о том, как множество элементов взаимодействуют друг с другом, позволяет более эффективно решать возникающие проблемы и предотвращать потенциальные неисправности.
Важными аспектами данной системы являются также цветовые коды проводов, которые помогают в идентификации и правильной сборке. Понимание этих кодов и их значения помогает избежать ошибок при ремонте или замене элементов, что особенно актуально в условиях ограниченной доступности деталей.
Помимо этого, описание системы включает в себя схемы подключения различных устройств, графики, указывающие на расположение основных агрегатов, а также пошаговые инструкции по диагностике. Эти материалы служат не только практическим ежедневно используемым ресурсом, но и способом повышения общей технической грамотности владельцев авто.
Изучение подобной информации открывает новые горизонты для автолюбителей, позволяя им уверенно действовать в любых ситуациях, связанных с электрическими компонентами. Это знание несомненно сделает управление машиной более комфортным и безопасным.
Структура электрической системы автомобиля
Современное транспортное средство представляет собой сложный комплекс, в котором различные элементы взаимодействуют друг с другом для обеспечения надежной работы. Внутри этого механизма находятся ключевые компоненты, отвечающие за распределение энергии и управление всеми функциональными узлами. Каждый из них выполняет своей задачи, чтобы обеспечить безопасность и комфорт водителя и пассажиров.
Ключевыми частями системы являются генератор, стартер, аккумулятор и проводка. Генератор, получая механическую энергию от двигателя, преобразует её в электрическую, которая затем подается на различные устройства. Аккумулятор служит хранилищем энергии, что позволяет двигателю работать даже при выключении зажигания. Стартер играет решающую роль в запуске мотора, позволяя переводить транспортное средство в движение.
Проводка представляет собой сеть проводов и соединителей, которая обеспечивает связь между всеми электрическими компонентами. Она предназначена для безопасного и эффективного переноса электрического тока. Качество и исправность проводки имеют решающее значение, поскольку даже небольшая неисправность может привести к серьезным проблемам в работе автомобиля.
Дополнительно, в структуре присутствуют различные вспомогательные устройства, такие как предохранители, реле и контроллеры, которые отвечают за защиту и управление потоками энергии. Они обеспечивают стабильность работы системы, предотвращая перегрузки и короткие замыкания, что критически важно для надежности и долговечности всех узлов автомобиля.
Таким образом, взаимосвязь всех компонентов в системе гарантирует не только эффективное функционирование различных устройств, но и общее состояние автомобиля, что делает его безопасным для эксплуатации в любых условиях.
Ключевые компоненты электрической системы
В данной части рассмотрим основные элементы, обеспечивающие функционирование энергетической сети автомобиля. Понимание этих компонентов поможет лучше осознать работу системы в целом и упростит процесс диагностики на случай возникновения неисправностей.
Одним из главных элементов является аккумулятор, который служит источником питания для всех электрических устройств. Его надежная работа напрямую влияет на функционирование стартера и других систем.
Далее следует генератор, который отвечает за восполнение заряда аккумулятора и стабилизацию напряжения в системе. Он играет критическую роль в обеспечении работы электрооборудования при запущенном двигателе.
Не менее важен распределительный блок, через который происходит распределение електрической энергии между различными устройствами и системами. Этот компонент также отвечает за защиту от коротких замыканий и перегрузок.
Сигнальные лампы и датчики являются вспомогательными, но важными элементами, которые информируют водителя о состоянии различных систем. Они помогают быстро реагировать на возможные проблемы и обеспечивают безопасность движения.
Наконец, систему управления в целом поддерживают реле и предохранители, которые защищают от перегрузок и помогают управлять работой различных компонентов. Понимание их роли является ключом к эффективному обслуживанию и ремонту.
Подключение аккумулятора и генератора
Правильное соединение источников питания и генераторных систем имеет решающее значение для обеспечения эффективной работы всего автомобильного электрического оборудования. Эти компоненты обеспечивают необходимое напряжение и ток для старта двигателя, а также для функционирования множества вспомогательных устройств.
Когда вы подключаете аккумулятор, необходимо соблюдать полярность: положительный контакт аккумулятора соединяется с соответствующим проводом генератора, в то время как отрицательный должен быть подключен к массе автомобиля. Неправильное подключение может вызвать короткое замыкание и повредить систему.
Генератор, в свою очередь, отвечает за поддержание заряда аккумулятора во время работы двигателя. Он преобразует механическую энергию в электрическую, поддерживая стабильное напряжение на выходе. Важно следить за состоянием соединительных кабелей, так как они могут подвергаться коррозии или повреждениям, что негативно сказывается на производительности как генератора, так и аккумулятора.
Также стоит уделить внимание состоянию ремня генератора. Он должен быть правильно натянут и не иметь видимых повреждений. Регулярная проверка этих элементов поможет избежать проблем в будущем и продлить срок службы электрической системы автомобиля.
Электропроводка и ее особенности
Электрическая проводка автомобиля представляет собой сложную и многогранную систему, обеспечивающую взаимодействие различных элементов транспортного средства. От качественной реализации этой системы зависит не только функционирование отдельных устройств, но и безопасность передвижения. Важно понимать, что каждая деталь играет свою уникальную роль, а ее правильное подключение и обслуживание значительно снижают риск возникновения неисправностей.
Структура проводки варьируется в зависимости от комплектации и года выпуска модели. Каждый проводник защищен изоляцией, что предотвращает короткие замыкания и повреждения, а специальные колодки соединяют отдельные компоненты. Все это позволяет организовать упорядоченное распределение электрического тока, избегая путаницы и сложных ремонтных манипуляций.
Качество материалов, из которых изготовлены элементы проводки, также играет важную роль. Ненадежные провода и соединители могут привести к перегреву и выходу из строя электрооборудования. Для обеспечения долговечности рекомендуется использовать оригинальные детали, так как они прошли испытания на соответствие стандартам качества.
Поддержка исправного состояния системы требует регулярного визуального осмотра и проверки целостности проводов. Особенное внимание стоит уделять местам соединения, где из-за вибраций и температурных колебаний может происходить ослабление контактов. Водителям следует быть внимательными и реагировать на любые странные звуки или нехарактерные действия приборов, так как они могут сигнализировать о нарушениях в работе проводки.
В конечном итоге, понимание особенностей и структуры проводки позволяет владельцам автомобилей более эффективно решать возникающие проблемы и проводить профилактическое обслуживание, что в свою очередь способствует надежности и безопасности на дороге.
Сигнальные лампы и контрольные системы
Для обеспечения безопасности и комфортного управления автомобилем разработаны разнообразные индикаторы, которые информируют водителя о состоянии важных систем и узлов. Эти устройства служат своеобразным связующим звеном между автомобилем и его владельцем, позволяя быстро реагировать на возникающие проблемы.
- Типы индикаторов:
- Предупреждающие лампы
- Показатели функционирования
- Индикаторы наличия неисправностей
- Основные функции:
- Оповещение о критических состояниях
- Информация о работе систем безопасности
- Регулирование уровня топлива и температуры
- Примеры предупреждающих индикаторов:
- Лампа давления масла
- Индикатор зарядки аккумулятора
- Сигнализатор тормозной системы
Каждый из индикаторов предназначен для выполнения конкретной задачи и связан с определенной системой автомобиля. Их правильная работа позволяет избежать серьезных поломок и увеличить срок службы транспортного средства.
Контрольные системы также играют важную роль в функционировании современных легковых автомобилей. Они обеспечивают постоянный мониторинг состояния узлов и агрегатов, анализируют данные и формируют предупреждения о выявленных неисправностях. Благодаря этим технологиям водитель получает актуальную информацию о состоянии машины с минимальными затратами времени и усилий.
- Примеры контрольных систем:
- Системы диагностики двигателя
- Мониторинг работы трансмиссии
- Контроль состояния системы охлаждения
- Преимущества:
- Раннее выявление неисправностей
- Увеличение безопасности на дороге
- Экономия средств на ремонте
Таким образом, сигнальные лампы и контрольные механизмы играют неотъемлемую роль в поддержании надежности и безопасности. Понимание их назначения и принципа работы поможет водителю лучше адаптироваться к различным дорожным условиям и максимально эффективно использовать возможности своего автомобиля.
Методы диагностики электрических неисправностей
Поиск и устранение неисправностей в электрической системе транспортного средства требует применения различных методов и подходов. Это комплекс мероприятий, который позволяет определить источник проблемы, не прибегая к слепым заменам компонентов. Качественная диагностика обеспечит более надежную работу всех элементов и увеличит срок их службы.
Одним из первых этапов является визуальный осмотр проводки и соединений на наличие признаков износа, коррозии или механических повреждений. Мелкие дефекты могут стать причиной серьезных сбоев в работе системы, поэтому внимательное изучение состояния кабелей, разъемов и предохранителей является важным шагом.
Использование мультиметра позволяет провести замеры напряжения и сопротивления в различных участках электрической сети. Эти измерения помогают выявить участки с пониженной проводимостью или неправильным напряжением, что может быть признаком неисправности.
Также стоит применять специальные диагностические инструменты, такие как сканеры, которые могут считывать коды ошибок и предоставлять информацию о работе основных систем автомобиля. Полученные данные помогут быстрее локализовать проблему и понять, какие компоненты нуждаются в проверке или замене.
Важным аспектом диагностики является также тестирование отдельных компонентов, таких как генератор, стартер и аккумулятор. Проверка их работоспособности позволит исключить возможность повреждения или выхода из строя, что существенно облегчит процесс поиска неисправностей.
Наконец, стоит помнить о необходимости периодического обслуживания и проверки всех электрических систем. Регулярная диагностика позволит выявлять потенциальные проблемы еще до их возникновения и тем самым предотвращать более серьезные последствия.
Подключение освещения и фонарей
Организация эффективного освещения – важный аспект функционирования любого транспортного средства. В данном разделе рассматриваются принципы подключения осветительных приборов, которые обеспечивают безопасность на дороге и удобство при эксплуатации автомобиля в темное время суток.
Основные элементы системы освещения включают фары, противотуманные огни, габаритные огни и стоп-сигналы. Каждый из этих компонентов отвечает за свою специфическую функцию, и их надежное соединение с основной сетью питания является ключом к бесперебойной работе.
Ключевые элементы подключения содержат переключатели, реле и предохранители, которые обеспечивают защиту и управление работой различных осветительных устройств. Благодаря четкой организации этих элементов, появляется возможность контролировать работу освещения из любого места в автомобиле.
Например, фары управляются через переключатель на руле, который в свою очередь активирует реле, обеспечивающее подачу тока к светодиодным или галогенным лампам. Это соединение должно быть выполнено с учетом всех специфических характеристик, чтобы избежать перегрузок и обеспечить долговечность работы устройства.
Подключение дополнительных фонарей возможно через отдельные цепи, что позволяет расширить функциональность оригинальной осветительной системы. При этом важно учитывать мощность подключаемых источников света, чтобы не повредить проводку и избежать сбоев в работе остальных компонентов.
Правильная организация проводки и соответствующая защита от короткого замыкания – важные аспекты при установке осветительных приборов. Использование качественных материалов и соблюдение рекомендаций по монтажу значительно повышает надежность всей системы.
Для диагностики проблем в работе освещения необходимо использовать специальные инструменты, которые позволяют проверить целостность цепей и работоспособность всех элементов. Это поможет выявить неисправности и оперативно устранить их, обеспечивая тем самым безопасное движение в любых условиях.
Аудиосистема: подключение и управление
Для наилучшей работы звукового оборудования следует ознакомиться с несколькими ключевыми компонентами:
- Головное устройство – основа аудиосистемы, обеспечивающее прием и воспроизведение звука.
- Динамики – преобразуют электрические сигналы в звуковые волны, доступные для восприятия.
- Усилитель – увеличивает мощность звука, позволяя достигать более высокой громкости без искажений.
- Кабели и коннекторы – важные элементы, обеспечивающие надежное соединение всех компонентов.
Подключение аудиосистемы включает следующие этапы:
- Определение месторасположения для установки головного устройства и динамиков.
- Подключение питания к головному устройству, используя соответствующие провода, чтобы избежать перегрузки.
- Сопряжение динамиков с усилителем и головным устройством, следуя рекомендациям производителя.
- Проверка всех соединений и их надежность для обеспечения качественного звука.
Управление аудиосистемой может включать в себя использование различных функций, таких как:
- Регулировка громкости для комфортного восприятия звука.
- Настройки эквалайзера для улучшения качества звучания в зависимости от музыкального жанра.
- Воспроизведение аудиофайлов с различных источников, включая Bluetooth, USB и SD-карты.
- Программирование радио-каналов для быстрого доступа к любимым станциям.
Также важно следить за состоянием оборудования. Регулярная диагностика и профилактика помогут избежать неисправностей и продлить срок службы системы. В случае возникновения проблем стоит обратиться к специалистам для точного выявления причин и качественного устранения неисправностей.
Элементы системы климат-контроля
Современные автомобили оснащаются сложными аппаратными решениями для поддержания комфортного микроклимата в салоне. Эти системы отвечают за поддержание оптимальной температуры и влажности, позволяя пассажирам наслаждаться поездкой в любых условиях. Весь комплекс деталей, задействованных в этой задаче, обеспечивает эффективное функционирование климат-контроля, что напрямую влияет на общий комфорт и настроение водителя и пассажиров.
| Компонент | Описание |
|---|---|
| Компрессор | Устройство, которое сжимает хладагент и обеспечивает его циркуляцию в системе. |
| Испаритель | Элемент, который позволяет хладагенту поглощать тепло из воздуха, охлаждая его. |
| Конденсатор | Принимает сжатый хладагент и отводит тепло, преобразуя его из газообразного состояния в жидкое. |
| Термостат | Регулирует температуру в салоне, открывая и закрывая поток охлажденного воздуха. |
| Вентилятор | Создает поток воздуха, обеспечивая циркуляцию и распределение температуры в салоне автомобиля. |
| Панель управления | Позволяет водителю устанавливать нужные параметры работы системы, такие как температура и скорость вентиляции. |
Данные элементы работают в тесной связке, обеспечивая непрерывный процесс обработки воздуха, что является ключевым для эффективного климат-контроля. Обслуживание и диагностика этих компонентов способствует более долговечному и надежному функционированию системы, что в конечном итоге положительно сказаться на опыте вождения и состоянии пассажиров. Своевременное выявление и устранение неисправностей поможет избежать серьезных повреждений и обеспечит безопасность на дороге.
Полезные советы по обслуживанию электрической системы

Правильное обслуживание электрических компонентов вашего транспортного средства играет ключевую роль в обеспечении его надежности и безопасности. Следуя ряду рекомендаций, можно значительно продлить срок службы элементов, а также снизить риск возникновения неисправностей.
Регулярная проверка состояния аккумулятора поможет избежать неожиданных проблем. Убедитесь, что клеммы надежно зафиксированы и не имеют признаков коррозии. Если аккумулятор старше трех лет, рекомендуется проверять его заряд и производительность, особенно перед длительными поездками.
Контроль соединений проводки также имеет большое значение. Проверяйте разъемы на наличие повреждений и загрязнений. При необходимости используйте очиститель контактов и обеспечьте хорошее соединение. Это поможет предотвратить проблемы с подачей электричества.
Регулярное обслуживание освещения не только улучшает видимость на дороге, но и способствует безопасной эксплуатации. Проверяйте состояние ламп и заменяйте их по мере необходимости. Важно следить за работой всех фонарей, включая указатели поворота и задние огни.
Использование качественных запчастей при замене компонентов крайне важно. Экономить на дешевых аналогах может быть рискованно, поскольку это может привести к дополнительным расходам на сервисное обслуживание в будущем.
Проведение диагностики на специализированном оборудовании может помочь выявить проблемы на ранней стадии. Современные технологии позволяют быстро и точно определить неисправности, что сократит время и затраты на устранение. Не пренебрегайте регулярными проверками у профессионалов.
Изучение инструкций и рекомендаций производителя составит хорошую практику. Будь то простая замена лампы или проверка предохранителей, знание особенностей своего автомобиля поможет избежать ошибок и обеспечит правильное обслуживание. Это особенно важно для обеспечения долговечности всех электрических компонентов.